КАП 62

Чертеж изделия:
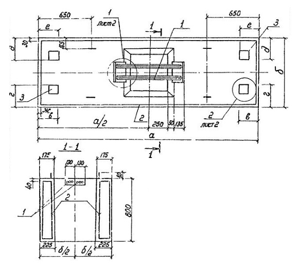
Чертеж КАП 62
Характеристики изделия:
ПараметрЗначение
Длина2800 мм
Ширина950 мм
Высота800 мм
Масса4750 кг
Нормативный документСерия 3.702.1-4

Капитель бетонная КАП 62 по Серии 3.702.1-4.